•    手机版




    下载客户端后,扫描左侧二维码快速访问本站
  •       官方微信
    南丰圈官方微信公众账号
    添加方式:
    1、搜索:微信号(nf_quan)
    2、扫描:扫描左侧二维码
    及时获得南丰信息尽在 "南丰圈"
  • 最近看过此主题的会员

    南风网络科技™商家认证
    发表于: 2015-1-7 10:50:15 | 显示全部楼层

    U10168P2DT20150106213427.gif
    苹果获柔性设备专利

    U10168P2DT20150106213559.jpg
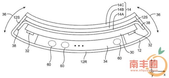
    苹果获柔性设备专利

    U10168P2DT20150106213609.jpg
    苹果获柔性设备专利

      新浪科技讯 北京时间1月6日晚间消息,美国专利与商标局(USPTO)周二授予苹果公司(以下简称“苹果”)一项新专利,该项技术允许未来的iPhone任意弯曲或折叠。

      这项专利名为“柔性电子设备”,允许一款便携设备,如iPhone,随意弯曲、折叠,或其它形式的变形,同时又不会对内部敏感零部件产生不良影响。

      与其它柔性电子产品专利不同的是,苹果的这项专利还包含延展性的外部配件,比如机壳或屏幕玻璃,与内部的电池、电路板、显示屏和其他柔性零部件相整合。

      鉴于当前的“直板式”iPhone,苹果的这项专利技术至少包括柔性的OLED屏幕、电容式触摸传感器、基片和玻璃覆盖层。要实现弯曲,iPhone的底架肯定不能使用铝合金材质,而是改用塑料、薄玻璃和纤维复合材料,或者其他能承受经常弯曲的组合材料。当然,柔性的电路板也要保留一些“坚硬”区域,从而来保护CPU和其他零部件。

      由于是一款完全可弯曲的设备,苹果将来可能还会引入新的操作方式。例如,通过挤压iPhone来激活重力传感器,并因此启动一项系统命令,如打开一项应用,或开关机。

      虽然苹果短期内可能还不会推出这样一款柔性iPhone,但这项专利却凸显了苹果在手机领域的野心。将来的某一天,允许你的iPhone可以像钱包一样折叠起来。(李明)


    跳转到指定楼层
    您需要登录后才可以回帖 登录 | 我要注册   扫一扫,用微信登录

    本版积分规则

    关于我们|网站广告|Archiver|手机版|小黑屋|

    Copyright © 2014-2015 南丰圈(南风网络科技) 版权所有 咨询QQ:QQ 客服电话:13979415368
    赣ICP备14009540号 技术支持:南风网络科技  Powered by Discuz! X3.5
    快速回复 返回顶部 返回列表